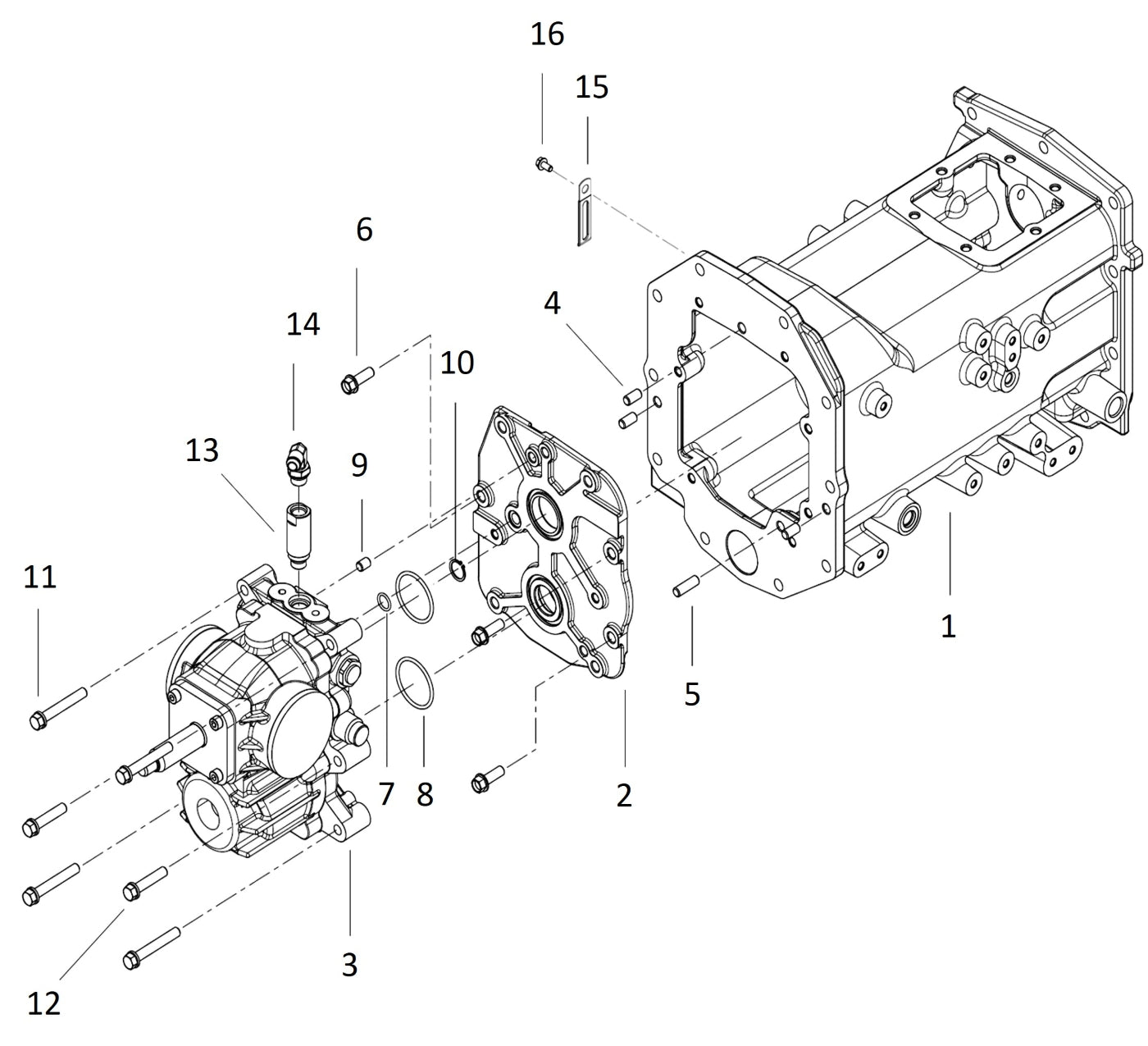
Pump, HST