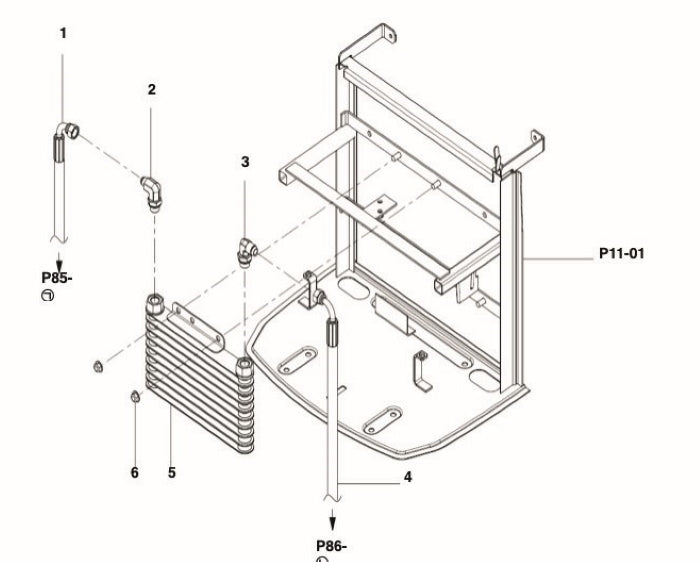
Hydraulic Oil Line