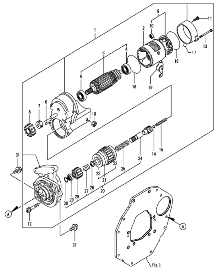
Starting Motor